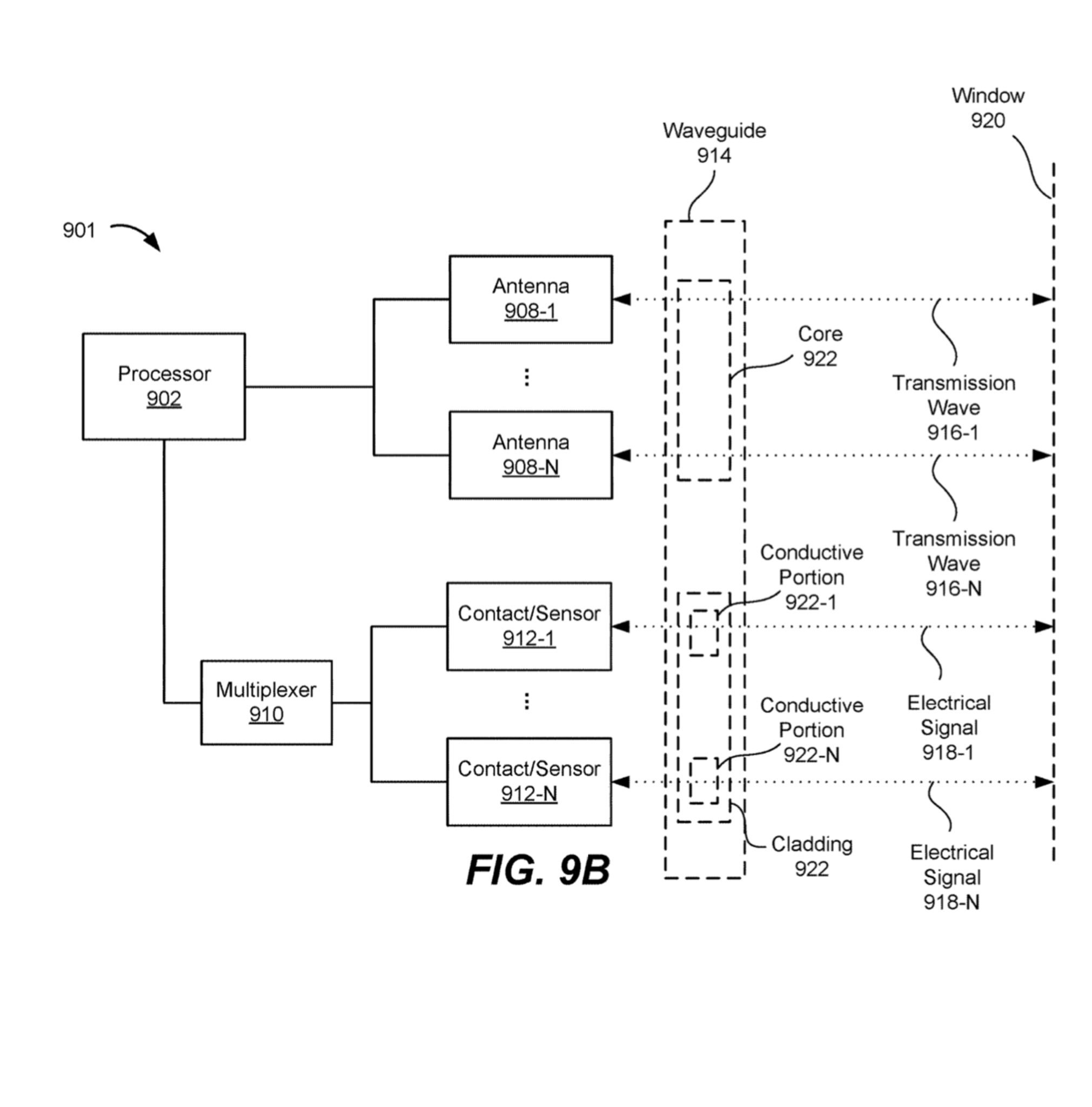
Mới đây văn phòng bản quyền sáng chế và thương hiệu tại Mỹ (USPTO) đã cấp một văn bằng sáng chế về một loại "Vỏ dẫn điện cho ống dẫn sóng". Đây là một sáng chế mà Apple đã đệ đơn lên văn phòng bản quyền sáng chế và thương hiệu từ năm 2015. Trong hồ sơ có nói, đây là một sáng chế về một loại vỏ dẫn điện của một loại "ống dẫn sóng", có khả năng truyền tín hiệu với tốc độ rất cao. Và nó có thể được sử dụng trên mọi thiết bị điện tử có khả năng trao đổi tín hiệu.




Thêm nữa, Apple miêu tả rằng việc truyền tín hiệu qua cáp thông thường như hiện nay đang sử dụng bị giới hạn tốc độ bởi vật liệu, bởi điện trở của dây dẫn, và còn bị nhiễu sóng trong quá trình hoạt động. Và cũng sẽ dễ dàng hơn trong việc thiết kế một cổng kết nối có khả năng chống nước tốt hơn.
Cá nhân mình tạm hình dung thì thấy có phần nào đó giống với tín hiệu quang học đang phổ biến rộng rãi ngày nay, không bị nhiễu sóng, không bị ảnh hưởng bởi điện trở cũng như vật liệu nên cáp quang cho tín hiệu ổn định cũng như mức băng thông tín hiệu là cực kỳ cao, cao hơn nhiều so với những loại cáp dây đồng phổ biến hiện nay. Hiện tại thì rất nhiều công ty phát triển công nghệ trên thế giới vẫn đang liên tục nghiên cứu và thay đổi để cho ra một loạt rất nhiều những sản phẩm cũng như thiết bị có tốc độ trao đổi dữ liệu ngày càng nhanh hơn, và mình cũng hy vọng rằng một ngày nào đó cái "ống dẫn sóng" này thành công và áp dụng để có một tốc độ truyền tín hiệu tốt hơn nhiều lần hiện tại.
Nguồn: tinhte/USPTO
